CEⅡ型紡紗器的組成及主要部件作用
一、CEⅡ型紡紗器的組成
CEⅡ型紡紗器是目前我國轉杯紡紗機上裝配數量最多、使用最廣泛的(約占80%)自排風式紡紗器,它由電氣罩殼、上蓋板(罩殼座)、紡杯座、紡紗器底座四大部分組成。自排風式紡紗器的外形雖然千差萬別,但其內部結構與工作原理卻大同小異。
1.電氣罩殼
電氣罩殼如圖4—1(1)所示,在其空腔中固定著線路板。線路板是紡紗器的中樞神經,控制著整個紡紗器的工作程序,在線路板上還固定著二極管、干簧開關、電阻等電子元件。在罩殼前面斷頭指示燈罩內裝有發光二極管,在罩殼后蓋上固定著鐵框架及電磁線圈組合件,還裝有探針,探針由上軸承、下軸承支撐著。橢圓形電源插頭把線路板與紡紗器底座上的電源連接起來,組成供電線路。在罩殼后蓋的下面還備有防塵蓋板,如圖4—1(2)所示。其主要作用是防止飛花、灰塵進入電氣罩殼內。
2.上蓋板(罩殼座)
上蓋板是用鋅鋁合金壓鑄而成的。老式的上蓋板底部開有3個補風孔,2個供排雜系統補風用,另1個用于清除分梳輥上端面的積花和積灰,如圖4—2所示。在新型紡紗器的上蓋板正對給棉羅拉上方又增開了一個圓孔,以便清除給棉羅拉頂部的積花,并且還有避免給棉羅拉被軋煞的作用。引紗玻璃管由橡膠座固定在上蓋板上。阻捻頭的左旋(反牙)螺紋把輸棉通道和隔離盤固定在上蓋板的后側面上。
3.紡杯座
紡杯座如圖4—3所示,其作用是支撐高速旋轉的紡杯。紡杯座前端的密封蓋與輸棉通道上的橡膠密封圈相互配合對紡杯起密封作用,以使高速旋轉的紡杯內形成負壓(真空度)。
由于紡杯座減震和散熱的需要,在紡杯座頸部既開槽又鉆孔,因而削弱了紡杯座頸部的強度。因此,打開紡紗器時,動作要輕并用右手適當托扶,以防止紡杯座從頸部折斷。當打開紡紗器時,制動座下端的鉤頭便
4.紡紗器底座
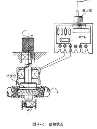
紡紗器底座如圖4—4所示,其下端騎跨在開有半圓豁口的給棉蝸桿(慢軸)套管上,當需要檢修紡紗器或清掃紡杯時,可將紡紗器向下繞空心套管做45°或90°旋轉。給棉羅拉軸下端的蝸輪與給棉蝸桿嚙合,在不需要給棉時,蝸輪在給棉羅拉軸上空轉,如圖4—5所示;當需要給棉時,探針上永久磁鐵的磁力線使干簧開關內的兩簧片吸合,這時給棉電磁線圈通電產生磁力,使蝸輪與給棉羅拉軸吸合而連為一體,給棉羅拉開始旋轉而產生給棉現象,如圖4—6所示。

給棉板與給棉喇叭壓配成一個整體而活套在偏心銷上,轉動偏心銷可以調節給棉板的進出距離。調節紡紗器底座右側的壓簧螺釘可以改變給棉板壓力的大小。給棉板與給棉羅拉的隔距可以通過紡紗器底座左側的調節螺釘進行調整。為了防止向前推動給棉喇叭時,給棉板前端與旋轉分梳輥上的豁口相撞,在壓簧中裝有一保險銷,以控制給棉板與分梳輥之間的距離。保險銷的進出由一個M4小螺釘進行調節。
分梳輥裝在分梳腔中,其上下位置由紡紗器左側一頂頭螺釘固定,下部的龍帶盤由龍帶做切向傳動,并按逆時針方向旋轉。
紡紗器底座垂直輻板上端槽內裝有鎖緊片,當紡紗器合攏后,鎖緊片便與機身橫梁撐檔上的凸頭螺釘相鎖合,紡紗器便貼靠在機身橫梁撐檔上;當需要打開紡紗器時,只要向下撳動鎖緊片,把紡紗器向下旋轉即可。
若需要把整個紡紗器從機身上拆下時,只要把下端蓋底座內的一個M5內六角螺釘旋下即可。
二、CEⅡ型紡紗器主要部件的作用與質量要求
1.給棉喇叭
給棉喇叭如圖4—7所示,其作用是使棉條在進入給棉板與給棉羅拉握持區之前,受到必要的整形與壓縮,并改變棉條原先不規則的截面形狀,使棉條呈現有規則并具有
給棉喇叭出口的常用尺寸有9mm×2mm、7mm×3mm,應根據棉條的定量進行選擇。棉條定量重,喇叭出口尺寸就應大些,這樣不易阻塞棉條;棉條定量輕,出口尺寸應小些,否則集束效果差。給棉喇叭左側錐形窩坑的作用是測量給棉板壓力。
對給棉喇叭有以下質量要求:
(1)與棉纖維發生接觸的內孔及四壁應光潔,不得發生鉤掛纖維的現象。
(2)出棉口無破損,否則不利于棉條的集束和通過。
2.給棉板
給棉板如圖4—8所示,它的作用是握持棉條,對棉條保持(26.5±1.5)N的壓力。壓力來自紡紗器右側的壓簧,給棉板應能在偏心銷上靈活擺動,以始終對棉條保持應有的握持力。給棉板前端有一段圓弧與給棉羅拉相配合,以有效地控制棉纖維,使棉纖維不會過早地脫離握持區而被分梳輥拽拉下來,這對棉纖維的開松、梳理有好處。給棉板的前端有一凹槽,其作用是:
(1)可有效控制喂入棉條的寬度和位置,更有利于分梳輥抓取棉條。
(2)凹槽的底面是測量與確定給棉板進出位置的基準,給棉板進出(28.5±0.1)mm就是以此面為基準確定的。
凹槽之所以不開在給棉板中央而位置偏下,是因為分梳輥的齒條為左螺旋線,在分梳腔中又是逆時針方向旋轉,因此氣流和棉纖維就有向上擴散的趨勢。為了防止氣流向上擴散,避免分梳輥上端面積花、積灰,所以把凹槽的位置向給棉板下方移了一些距離。
對給棉板有以下要求:
(1)為了避免聚棉條現象發生,給棉板與棉纖維的接觸面應有較高的光潔度。
(2)為了防止磨損,給棉板應具有足夠的硬度。
(3)輸送棉條過程中,為了使棉條的橫向壓力保持一致,防止棉條逐漸向上或向下移動而造成棉條阻塞,孔的中心線應與給棉羅拉的中心線平行,如圖4R
(4)為了防止給棉板發生翹頭或低頭現象,避免與上蓋板或分梳腔的底平面發生摩擦而影響給棉效果,給棉板孔的中心線應與給棉板的下端面保持垂直,下端面與上端面保持平行,如圖4—10所示。
3.給棉羅拉
給棉羅拉如圖4—11所示,其主要作用是輸送、喂給棉條。為了防止棉條在輸送過程中產生滑溜而引起牽伸倍數發生變化,在其表面加工有菱形花紋。菱形花紋還具有改善棉條壓力均勻性和提高對棉條握持力的作用。
對給棉羅拉有以下要求:
(1)為了防止給棉羅拉磨損,延長其使用壽命,給棉羅拉表面應有較高的硬度,需經硬化處理。
(2)為防止棉纖維發生繞羅拉現象,給棉羅拉的表面應非常光潔,需進行防銹鍍鉻處理。
(3)為了均勻輸送棉條,并防止與給棉板發生摩擦,要求給棉羅拉圓整度好,定心孔與外圓的同軸度高(不能偏心),如圖4—11所示。
(4)為了保證給棉羅拉對棉條橫向壓力均勻,防止棉條輸送過程中發生上下竄移,要求給棉羅拉圓整度要好(不得有錐度)。
4.隔離盤
隔離盤如圖4—12所示,它在紡紗過程中有以下3個作用。
(1)使通過輸棉通道的棉纖維,按順序并沿切線方向流人紡杯凝棉槽。.
(2)把正在加捻中的紗條與陸續進入紡杯的棉纖維加以隔離,避免紗條表面纏上外包纖維而影響成紗質量。
(3)隔離盤的導流槽有加強棉纖維定向引導的作用。
對隔離盤有以下要求:
(1)背面(B)光潔、無毛刺(圖4—13),無污斑,以增強棉纖維的流動性和伸直度,提高成紗的條干水平。
(2)盤面平整,與輸棉通道配合后四周間隙一致,否則會影響氣流的輸出速度和棉纖維的伸直效果。
(3)導流槽口無毛刺,不得產生掛花現象,否則會增加紗條上的粗節和斷頭。
5.輸棉通道
輸棉通道如圖4—14所示,它背面的橡膠密封圈與紡
輸棉通道背面邊緣上刻有15°、45°、90°三條標記。當用直徑66mm的大紡杯紡純棉紗時,隔離盤的導流槽應對準15°安裝;若所紡纖維原料較長時,導流槽應對準45°安裝;當用直徑54mm的小紡杯時,導流槽應對準45°安裝;90°一般不用。
對輸棉通道有以下要求:
(1)橡膠密封圈不得出現破損或脫落現象。
(2)通道入棉口的弧面應光潔、無污垢,便于棉纖維的有序流動和舒展,有利于提高成紗條干水平和強力。
(3)通道口所鑲嵌的鋼針下端不得產生縫隙,避免出現掛花現象,否則紗條上產生粗節,并增加紗條斷頭(尤其小紡杯的輸棉通道更應注意)。絕不允許出現鋼針脫落現象。
6.阻捻頭
阻捻頭又稱假捻盤或阻捻盤,如圖4—15所示。在紡紗過程中,阻捻頭可起假捻作用又可起到增強紡杯凝棉槽內須條與加捻中紗條的聯系作用,因此可減少或防止紗條產生斷頭。目前,除傳統的鋼質阻捻頭外,又有一些新型阻捻頭運用于生產中,如鑲陶瓷阻捻頭,全陶瓷阻捻頭、孤面上刻槽阻捻頭及外圓直徑加大的阻捻頭,如圖4—16及圖4—17所示。在阻捻頭弧面上有螺旋槽的阻捻頭,由于螺旋槽的存在,減小了紗條與阻捻頭弧面的接觸面,這樣既可提高紗條表面張力,又可增強棉纖維的收斂性及抱和力,還可提高棉纖維在加捻時的平穩性,因而減小了因棉纖維排列不均勻性而產生的粗細節,提高了成紗的條干水平,減少了毛羽,增加了強力。
為了避免紡紗時紗條長期與阻捻頭摩擦而出現松動現象,阻捻頭采用細牙反螺紋(M10×1左)與上蓋板連接。
在日常生產過程中,為了滿足工藝設計需要,適紡不同線密度及不同捻度的紗線,需
對阻捻頭有以下要求:
(1)阻捻頭的弧面及孔應有較高的光潔度,以減小紗條的捻損,提高加捻效率,并且可有效地減少紗條產生毛羽及斷頭。
(2)阻捻頭的弧面必須有較高的硬度,防止弧面被磨出波紋及溝槽,增加紗條的捻損及斷頭。
(3)M10×1左螺紋尺寸一定要標準(直徑不能太小),防止因經常拆裝阻捻頭而損壞上蓋板的螺孔。
7.分梳輥
在紡紗過程中,分梳輥對棉條起分解、梳理、轉移及排除雜質的作用。因此,其工作質量好壞對成紗的各項物理指標及斷頭都有重要影響。
(1)鋁胎包齒條式分梳輥:這種結構的分梳輥是目前在轉杯紡紗機上使用最廣泛也是最傳統的分梳輥形式,如圖4—18所示,它是在鋁胎上銑出(或車出)10圈左螺旋矩形槽,然后把不同規格、不同型號的齒條嵌壓包覆在槽子中。齒條的開始與結束部位都把齒尖磨掉,齒條頭尾呈楔形被鉚死在槽子內,并在齒條的開始與結束部位涂抹環氧樹脂粘結劑,防止運轉生產過程中齒條散開,損壞機件而發生機械事故。
鋁胎包齒條式分梳輥結構簡單、價格便宜、適用范圍廣,齒條用鈍以后可以重新反包新齒條,因此,鋁胎可以重復利用。
在重新反包齒條過程中,如果加工技術不好,會造成齒條在齒槽中歪斜、偏心,生產過程中會對成紗質量尤其是條干水平產生一定影響。在重新反包齒條以后,需要校動平衡,若取量孔鉆得太多、太深,
在生產過程中,孔中會積滿灰塵,破壞分梳輥的動平衡而引發振動,縮短分梳輥軸承的使用壽命。此外,齒條重新反包最好不要超過2次,否則齒條拆除次數太多,會使齒槽產生喇叭口;此時反包齒條后,齒條會產生歪斜,兩側會出現縫隙,這樣棉纖維會嵌入縫隙,使成紗的條干惡化,如圖4—19所示。
為了更好地滿足生產需要,提高成紗質量,目前對分梳輥齒條也做了一些提高質量的特殊工藝處理,如鍍鎳磷、激光處理、抗磨損鍍
(2)齒圈裝配式分梳輥:齒圈裝配式分梳輥如圖4—20所示,它是把分梳體加工成齒圈,然后用蓋板和螺釘或其他壓緊方式把它固定在軸承的滾動體上,如圖4—21所示。
齒圈裝配式分梳輥可根據原料性質不同隨時調換不同規格、不同型號的齒圈。齒尖磨損用鈍以后,使用廠可以隨時更換新齒圈且非常快捷,不會造成停臺而影響生產。這種齒圈經特殊加工處理后,齒尖的硬度或光潔度都很好,齒的平整度更好,因而可提高成紗質量。
由于齒圈裝配式分梳輥對齒圈的制造精度要求高,因此齒圈的加工、熱處理、鍍層拋光等工藝復雜,難度大,所以價格較高。又因為齒尖磨鈍以后無法返修而重復使用,所以提高了紡紗廠配件費用。因此,目前該種分梳輥只在少數高檔轉杯紡紗機上應用。
(3)植針式分梳輥:植針式分梳輥如圖4—22所示,它是在鋁胎上栽置鋼針而成,如圖4—23所示。由于鋼針的硬度高、強度大,并且齒的軸向呈圓錐形,因此,對纖維釋放性好,適用于紡制纖維較長、剛性大、含雜少的非棉原料,如化纖、毛、麻等。
植針式分梳輥目前還存在一些不足之處:齒的密度小,纖維得不到充分的開松與梳理;由于鋼針本身的長短存在一定差異,所以植針后分梳輥的圓整度差,并且鋼針容易松動,因此會影響分梳效果。
(4)鑲片式分梳輥:鑲片式分梳輥如圖4—24所示,是一種新的分梳輥形式。它把分梳體加工成片狀或塊狀,然后齒尖交錯排列拼裝鑲嵌在滾動體上。因為這是一種新型制造工藝,其性能好壞還有待生產實踐的檢驗。
不論哪種結構的分梳輥,都應達到以下幾項要求:
(1)齒尖應鋒利光潔,有利于對棉纖維的開松、梳理和轉移,并有效地分離和排除雜質。
(2)齒尖應有較高的硬度,以延長分梳輥的使用壽命。
(3)為保證抓取纖維的均勻性,齒尖的平
(4)為了保證成紗條干水平,分梳輥齒條不得出現倒齒、彎齒現象。
(5)分梳輥動平衡要達到規定標準,以減少振動和噪聲,延長分梳輥軸承的壽命。
8.紡杯
紡杯又稱轉杯,圖4—25所示為自排風式紡杯,圖4—26所示為抽氣式紡杯。紡杯在紡紗過程中承擔凝聚和加捻棉纖維的任務,它的工作狀態決定成紗質量好壞、產量高低。因此,近20年,尤其是近五六年,各紡杯制造廠對提高紡杯工作質量做了大量工作。紡杯在以下幾方面有了較大提高。

(1)鍍層:紡杯多采用鍛鋁材料制造(抽氣式直徑較小的紡杯使用鋼質材料),但鍛鋁的硬度比較低。為了提高紡杯硬度,防止其產生變形,延長其使用壽命,紡杯的表面需進行硬化處理。以前紡杯表面采用鍍鎳磷或氧化處理,為了提高紡杯的硬度并防止起皮,現多采用陽極化或金剛化處理,以延長其使用壽命,這對提高成紗質量、減少斷頭很有利。
(2)凝棉槽形狀:紡杯的凝棉槽是棉纖維凝聚和加捻的“場地”,它有R形和V形之分。R形凝棉槽如圖4—27所示,其根部有0.2~0.3mm的圓角,這種結構適合紡粗特紗。粗特紗所用原料中雜質和灰塵較多,圓角凝棉槽不易嵌入雜質和灰塵,即使嵌入后也便于剔除。另外,圓角凝棉槽能容納較多的棉纖維在其中凝聚,所以它適合紡制粗特紗。V形凝棉槽適合紡細特紗,因細特紗所用原棉的等級相對較高,原棉內所含雜質和灰塵較少,不易嵌入凝棉槽。另外,細特紗截面內所含纖維根數較少,V形凝棉槽有利于較少的棉纖維凝聚,這對提高成紗條干水平、減少毛羽非常有利,如圖4—28所示。
(3)凝棉槽的結構:由于自排風紡杯的凝棉槽容易積存雜質和灰塵,因而,影響了成紗條干水平,還會引起成紗質量產生周期性波動。為了減少紡杯凝棉槽內積雜和積灰,近幾年對紡杯凝棉槽的角度和結構做了一些改進,改進后的凝棉槽,如
(4)排氣孔:在自排風式轉杯紡紗機中,紡杯的排氣孔主要是排泄紡杯中的空氣,使紡杯內形成負壓,并有排除短絨和灰塵的作用。要想具有上述功能,除了提高排氣孔光潔度并對孔端進行倒角噴砂處理外,有些紡杯生產廠還把排氣孔加工成花槽型,如圖4—30所示。進行這種改進,更有利于排泄短絨和灰塵,提高紡杯內的負壓。
自排風式紡杯的氣流是從杯口流向杯底,當含有棉纖維和空氣的混合負壓氣流進入紡杯后,在高速旋轉紡杯的帶動下形成一股旋轉的氣流場。氣流促使棉纖維通過紡杯的滑移面,并且在離心力的作用下在凝棉槽中凝聚,空氣則從紡杯的排氣孔中排出,從而使棉纖維和空氣得到有效的分離,避免了一些可紡纖維從排氣孔中流失。這樣做還有利于棉纖維的并合和疊加,可提高成紗的條干水平,這是排氣孔之所以開在紡杯凹陷處的原因。但自排風式紡杯把排氣孔開在紡杯的凹陷處,會給雜質和灰塵在紡杯凝棉槽中積聚留有余地,這是它的不足之處。
對紡杯的要求:
(1)杯口圓整,紡杯的滑移面和凝棉槽應光潔。
(2)為了延長紡杯的使用壽命,紡杯的鍍層不但要有一定的硬度,還要有一定的厚度。
(3)紡杯的動平衡必須達到技術標準要求。
(4)紡杯的鍍層應具有減少產生靜電的功能。
(5)紡杯的排氣孔及內外倒角應光潔,防止短絨在排氣孔周圍積聚。
相關信息 







推薦企業
推薦企業
推薦企業