整經機各類張力裝置的技術分析
1前言
整經時為了使經軸獲得良好成形和較大的卷繞密度,在整經筒子架上一般設有張力裝置(張力器),給紗線以附加張力,設置經紗張力裝置的目的是調節片紗張力,即根據筒子在筒子架上的不同位置,分別給以不同的附加張力,抵消因導紗狀態不同產生的張力差異,使全片經紗張力均勻。但張力器的性能優劣對整經質量有著直接的影響。本文將對國內外目前使用的各類張力器的結構和特性進行分析探討,供企業在設備選擇及工藝調節時參考。
2張力裝置
2.1墊圈式張力裝置
圖1(a)為傳統的墊圈式張力裝置,該裝置通過改變張力圈4的重量來調節紗線張力,張力裝置的輸出張力波動較大。雙柱壓力盤式張力裝置如圖1(b)所示,它主要通過改變雙柱之間的氧化鋁張力柱8的位置來改變紗線包圍角,從而起到調節紗線張力的作用。這兩種均為有柱張力器。無芯柱圓盤張力器如圖1(c)所示,該張力器的特點是張力盤無芯柱,國外有的型號甚至紗線改變方向也是用滾動軸承代替普通的導紗棒,因此對輸入張力波動幾乎無放大作用,屬累加型張力器。其結構形式既有單張力盤副的,也有雙張力盤副的。一般采用彈簧加壓,上張力盤不易跳動,紗線張力波動小、調壓方便。由專門的傳動裝置帶動一個張力盤積極慢速轉動,可減小張力盤的磨損,井能自動清除飛花雜物。瑞土Benginner整經機
就配用有幾種型號的無芯柱圓盤張力器。
圖1幾種墊圈式整經張力裝置
注:1-瓷柱2-張力盤3-絨氈4-張力圈5-紗線6-擋紗
板7-壓力盤8-張力柱9-導紗鉤10-立柱11-調節軸12-導
紗眼13、13'-上張力盤14、14'-下張力盤15-減震環16、
16'-從動輪17-主動齒輪18-加壓彈簧
它是一種設計比較合理的張力裝置,第一組張力盤起減震作用,第二組張力盤控制紗線張力。紗線
2.2HH型羅拉張力裝置
此裝置有兩個橡膠羅拉,一個固定,另一個活動,兩羅拉均有免修防塵軸承,紗線通過一導紗眼進入羅拉夾,并以90度的偏轉角通向機頭,紗線張力來源于張力彈簧對活動羅拉的壓力,兩羅拉均由紗線帶動,羅拉周邊速度與紗線速度一致,這樣可減少張力裝置對紗線的磨損。為降低磨損,固定橡膠羅拉可用鋁制羅拉代替。該張力裝置適用于紗號在180dtex以上的經紗,所有的單絲和人造短纖維均可處理,最大工作速度為800m/min,這種張
力器主要在德國的Hacoba整經機上配用。該張力器的原理是利用具有一定轉動慣量的
羅拉副對角速度突變的抑制作用來穩定張力波動,從理論上講,用羅拉式張力器張力比較穩定、波動小。但國內部分紡織廠使用情況不夠理想。
主要表現在:張力調節范圍小、操作繁瑣;橡膠羅拉磨損變形嚴重,紗線易跑出,造成“無張力”,嚴重影響經軸質量,現已由鋁制羅拉代替。啟制動時紗線張力大且不易控制,斷頭多。此外對軸承的要求非常高,摩擦系數的一致性和平衡性要好。
當然,羅拉式張力器紗線與羅拉間無滑動摩擦,因此不同的紗線雖有不同的摩擦系數,所產生的張力值也是一致的。這是其它摩擦式張力器所不具備的。只要設計制造和使用得當,才會發揮羅拉式張力器的這一獨特優點。
2.3FB型細紗型張力裝置
本裝置用來處理很細的紗線,導紗機構是一個絞盤羅拉,有幾圈紗線繞于其上,羅拉在退繞紗的帶動下轉動,由于絞盤羅拉的特
2.4T型盤式張力調節裝置
該張力裝置可在高速條件下處理號數范圍寬廣的經紗,經紗通過進口紗眼,一組導紗盤和出口紗眼,在偏轉45o后導入,由于以一定的角度導入導紗盤,所以灰埃的產生傾向降低了,兩導紗盤周期性順著經紗運動方向被驅動以防止盤面對經紗的磨損,紗盤內的任何沉積物都可能提高上張力盤,從而使紗線張力下降,通過質量平衡角桿,所需紗線張力可以用具有平直特性曲線的彈簧來調節。盤式張力裝置適用于紗號在100dtex以上的經紗,如果采用有不同表面結構的盤,則所有已知的連續長絲和短纖維均可加工,其最大工作速度為1200m/min。T型盤式張力器是摩擦盤型張力器,因為其獨特的設計,當生產短纖維紗線時飛花會積聚在張力器的內面及外面,利用此專利設計的內部間隙性除塵系統可防止飛花積聚在張力器上。
2.5電磁阻尼張力裝置
電磁阻尼張力器是一種新型紗線張力裝置,一改通常張力器靠機械摩擦產生張力,而是利用
可調電磁場產生電磁阻尼力對紗線施加張力。如圖2所示,它利用可調電磁阻尼力對紗線施加張力。紗線包繞在一個轉輪上(轉輪半徑R),轉輪由軸承支承,其摩擦阻尼力距很小。轉輪內設有電磁線圈,產生電磁阻尼力距(F×r)施加給轉輪。通過改變線圈電流參數即可調節紗線張力的大?。═0、T1分別為紗線進入和離開張力裝置的張力,V為紗線速度)。該張力器的最大優點是便于通過改變電參數實現張力自動控制,可通過電腦準確控制紗線張力,張力調節方便,對紗線
圖2電磁阻尼張力裝置
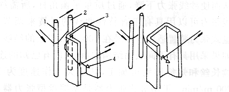
2.6導紗棒式張力裝置
這種張力裝置的設置主要是為了調節片紗的張力均勻程度,如圖3所示,筒子架每排設有一套導紗棒式張力裝置,紗線自筒子引出后,經過導紗棒1、2,繞過紗架立柱3,再穿過自停鉤4而引向前方。通過調節導紗棒2的位置來調節導紗棒1、2間的距離大小,從而調節紗線對導紗棒的包圍角來改變和控制經紗張力,它只能調節整排經紗張力,不能調節單根經紗的張力。
圖3導紗棒式張力裝置
2.7梳齒式阻尼張力器
由于簡單形式的梳齒張力器會擴大紗線的張力波動,為彌補這一不足,國外發展了一種稱為KFD型的梳齒式阻尼張力器。梳齒式張力器屬典型的倍積型張力裝置,系在導紗棒式張力器的基礎上發展而成。KFD阻尼張力器由德國Karl-Mayer公司開發,并成功應用于生產實際。這種張力器主要是靠紗線與曲弧面間的摩擦力產生附加張力,對輸入初張力的波動有放大作用。該張力器的技術關鍵是一套液壓阻尼和機械彈簧機構,當紗線張力有變化時,成組的張力桿在拉簧作用下自動改變相對位置進行張力補償,以使張力回復到設定值。同時由于油液的流體阻尼作用能防止張力的突變,吸收張力峰值,濾平張力波動。因此,該張力器能有效補償各種因素造成的張力隨機變化、平緩張力波動,具有較先進的張力自調勻整功能。當然這種張力器尚存不足,對高頻張力波動不能完全消除,造價較高、結構復雜、維修因難。目前國外最新型的KFD張力器系由微機控制,張力調節極為方便,同時阻尼方式已由油液的流體阻尼改成電磁阻尼,使用效果更好。
3結語
隨著織造速度的不
片紗形式的第一道工序,實現片紗張力均勻尤為重要,其中張力裝置起著極其重要的作用。整經工藝不斷向高速發展,這迫切需要配以合適的張力裝置。只有了解各類張力裝置的原理、特點,才能制訂滿足生產要求的工藝,從而提高產品的質量。
相關信息 







推薦企業
推薦企業
推薦企業