第六節清梳聯流程中的輔助設備
在清梳聯流程中,除了抓棉工序、開棉工序、混棉工序、清棉工序和梳棉工序以外,還有一些輔助設備。尤其在紡純棉或棉麻混紡的清梳聯流程中經常需要增加一些輔助設備,比如重物分離裝置、微塵分離裝置、異性纖維分離裝置及金屬火星探除器、磁鐵裝置等。下面將鄭州紡織機械股份有限公司生產的有關設備和裝置做簡單的介紹。
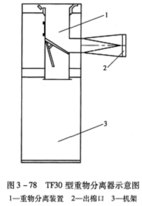
一、重物分離器
1、TF30系列重物分離器TF30系列重物分離器有TF30型和TF30A型兩種,現用戶使用較多的是TF30A型重物分離器。TF30型重物分離器與A045B系列凝棉器配套使用;TF30A型重物分離器與FA051A系列凝棉器配套使用。
(1)TF30系列重物分離器的主要特點:TF30系列重物分離器無動力、無傳動部件,結構簡單,使用維護方便。TF30A型重物分離器的落棉量調節板上裝有一組永久磁鐵,具有去除鐵磁性物質的能力。
(2)TF30系列重物分離器的主要結構:TF30系列重物分離器由機架、重物分離裝置、出棉口等組成(圖3—78);TF30A型重物分離器的落棉量調節板上還裝有磁鐵裝置(圖3—79)。
(3)TF30系列重物分離器的技術規格(表3—30)。
表3—30TF30系列重物分離器的技術規格
項目 |
規格 |
|
機型 |
TF30 |
TF30A |
產量(kg/h) |
600 |
800 |
機幅(mm) |
800 |
|
出棉口直徑(mm) |
300 |
|
磁鐵裝置 |
無 |
有 |
外形尺寸[長(mm)×寬(mm)×高(mm)] |
1450× ;1048×2200 |
1750×1248×2200 |
分離器重量(kg) |
約250 |
約300 |
2.TF39系列重物分離器
TF39系列重物分離器有TF39型和TF39A型兩種,現用戶使用較多的是TF39A型重物分離器,該機單獨使用。
(1)TF39系列重物分離器的主要特點:TF39系列重物分離器無動力、無傳動部件,結構簡單,使用維護方便,還具有結構簡單、體積小、重量輕等特點。TF39A型重物分離器還可去除纖維中的部分鐵磁性物質,保證整個系統的安全。
(2)TF39系列重物分離器的主要結構:TF39系列重物分離器由機架、重物分離裝置、出棉口等組成(圖3—80),TF39A型重物分離器在棉道轉彎處還裝有吸鐵裝置(圖3—81)。
(3)TF39系列重物分離器的技術規格(表3—31)。
表3—31TF39系列重物分離器的技術規格
項目 |
規格 |
|
機型 |
TF39 |
TF39A |
產量(kg/h) |
600 |
|
過棉通道截面尺寸[長(mm)×寬(mm)] |
400×400 |
|
進棉口直徑(mm) |
300 |
|
出棉口直徑(mm) |
300 |
|
外形尺寸[長(mm)×寬(mm)×高(mm)] |
1380×742×280 |
|
重量(kg) |
約50 |
約55 |
3、TF45系列重物分離器TF45系列重物分離器有TF45型和TF45A型兩種,
(1)TF45系列重物分離器的主要特點:TF45系列重物分離器沒有動力、無傳動部件,結構簡單,使用維護方便。該機利用空氣動力學原理實現纖維與重雜物的分離,去除重物、大雜的效果好。設有落棉量調節裝置,使可紡纖維回收不落白。TF45A型重物分離器取消了落雜小車,將落雜箱的容量加大了數倍,可較長時間清理一次,方便使用。
(2)TF45系列重物分離器的主要結構:TF45系列重物分離器主要由機架、重物分離裝置、進棉口、出棉口、落雜箱、落雜小車(TF45A型無落雜小車)等組成,如圖3—82和圖3—83所示。
出棉口處的TF45—0000—3型方彎頭采用不對稱設計(圖3—84),即其中一端有225mm長的直管。當該機與FA051A型凝棉器+TF2407A型支架裝置+FA103A型雙軸流開棉機配套使用時,按圖3—85安裝;當該機與FA051A型凝棉器+FAll3B(或FAll3C)型單軸流開棉機配套使用時,按圖3—86安裝。
(3)TF45系列重物分離器的技術規格(表3—32)。
表3—32TF45系列重物分離器的技術規格
產量(kg/h) |
1000 |
|
機幅(mm) |
800 |
|
進棉口直徑(mm) |
350 |
|
出棉口直徑(mm) |
350 |
|
外形尺寸 [長(mm)×寬(mm)×高(mm)] |
與FA051A型+TF2407A型+ FAl03A型連接 |
1050×808×39 95 |
與FA051A型+FAll3B型 (或FAll3C型)連接 |
1275×808×4220 |
|
重量(kg) |
約200 |
二、除微塵及異纖微塵分離機
1.FA151型除微塵機FA151型除微塵機主要適用于經充分開松的原棉,以除去其中的超短短絨及微塵等細小雜質,常作為開清棉流程的最后一個除雜點,特別適用于轉杯紡紗和噴氣紡紗的開清棉流程中,能有效提高生條及成紗的質量。
(1)FA151型除微塵機的主要特點:FA151型除微塵機具有結構簡單、調整方便、去除微塵和超短短絨能力強等優點。纖維分配器能夠將纖維均勻地噴灑到網眼板上,使該機的能力得到了充分的發揮。
(2)FA151型除微塵機的主要結構:本機型主要由纖維分配器、過濾網板、進棉風機、出棉風機、除塵風機、機架等組成,如圖3—87所示。
①機架采用鋼板焊接結構,通過撐檔連接而成。
②進棉風機選用TV425A—4(L)型輸棉風機,該輸棉風機由機架、葉輪、電動機機架和電動機等組成。根據系統要求設定其風機轉速。
③出棉風機選用TV425C—5—5(L)型輸棉風機,該輸棉風機由機架、葉輪、電動機底座、電動機和變頻器等組成。
④過濾網板采用厚度為1.5mm的Q235—A型冷軋鋼板,網孔直徑為3mm,過濾網板總面積25754cm2。
⑤纖維分配器由纖維分配板、連桿機構、減速電動機等組成,分配板的擺動次數25-35次/min。
(3)FA151型除微塵機的主要技術規格(表3—33)。
表3—33FA151型除微塵機的主要技術規格
項目 |
<|
機幅(mm) |
1600 |
產量(kg/h) |
800 |
|
排風量(m3/h) |
4000 |
|
過濾網總面積(m2) |
2/6 |
|
纖維分配器 |
傳動方式 |
電動機傳動 |
擺動次數(次/min) |
25—35 |
|
裝機功率(kW) |
9/62 |
|
外形尺寸[長(mm)×寬(mm)×高(mm)] |
2150×1864×2650 |
|
全機凈重(kg) |
約2200 |
|
2.JWFl051型除微塵機JWFl051型是在FAl51型的基礎上,優化棉流輸送路線開發設計而成。它與FAl51型除微塵機一樣,適用于經充分開松的原棉,以除去其中的超短短絨及微塵等細小雜質,常作為開清棉流程的最后一個除雜點,特別適用于轉杯紡紗和噴氣紡紗的開清棉流程中,能有效提高生條及成紗的質量。
(1)JWF1051型除微塵機的主要特點。
①該機進棉管道采用截面尺寸為1400mm×80mm的方形管道,與FA111型、FA109A型、FA112型、JWF1124型等型號輥筒清棉機的出棉口直接相連(圖3—88),能夠將纖維均勻地噴灑到網眼板上,提高對纖維中所含微塵和超短短絨的去除能力。
②使用本機時,纖維僅經過一個風機就能夠被送到清梳聯喂棉箱(圖3—89),風機葉輪對纖維的損傷較小,適于純棉精梳紗的流程減少棉結。
③JWF1051型除微塵機可單獨使用,也可根據需要加裝除異性纖維功能,即組合成JWF
(2)JWFl051型除微塵機的主要結構:本機主要由機架、進棉管道、出棉風機、排塵風機、過濾網板等組成(圖3—90)。
①機架采用鋼板焊接結構,通過撐檔連接而成。
②出棉風機選用TV425C—5.5(1)型輸棉風機,該風機與電動機直連,風機由變頻器來實現變速。在調試時,應適當調節變頻器頻率,使纖維順利吸到本機并輸出。
③排塵風機選用TV425C—4(R)型輸棉風機,該風機與電動機直連,風機由變頻器來實現變速。生產時,可適當調節變頻器頻率,既能協助出棉風機一起將纖維從上道機器吸到本機,又能順利的起到排塵作用。
④過濾網板采用厚度為1.5mm的Q235一A型冷軋鋼板,網孔直徑3mm,過濾網板總面積21900cm2。
(3)JWF1051型除微塵機的主要技術規格(表3—34)。
表3—34JWF1051型除微塵機的主要技術規格
項目 |
規格 |
機幅(mm) |
1600 |
產量(kg/h) |
800 |
進棉管截面尺寸[寬(mm)×高(mm)] |
1400×80 |
出棉管直徑(mm) |
300 |
排塵管直徑(mm) |
300 |
排塵風量(m3/h) |
4000 |
過濾網總面積(m2) |
2.2 |
裝機功率(kW) |
9.2 |
外形尺寸[長(mm)×寬(mm)×高(mm)] |
1885×1864×26 90 |
全機凈重(kg) |
約1500 |
3.JWF1051A型異纖微塵分離機
JWF1051A型異纖微塵分離機是在JWFl051型異纖微塵分離機的基礎上采用國際上的最新研究成果設計開發而成。常用在紡棉清梳聯流程中精開清棉機與清梳聯喂棉箱之間,也可用在紡棉的成卷流程中,不僅可以有效去除經充分開松的纖維中的微塵和超短短絨,還能夠去除棉纖維中的異物。
(1)JWF1051A型異纖微塵分離機的主要特點。
①本機不僅能去除纖維中的異性纖維,還具有去除纖維中微塵和超短短絨的功能,是一種多功能組合型的設備。也可根據需要,單獨選擇除異性纖維功能或除微塵和超短短絨功能(即JWF1051型除微塵機)。
②進棉管道和檢測通道的截面尺寸均為1400mm×80mm,并且該方管道直接與清棉機出棉口連接,保證檢測處的棉層薄且均勻,使檢出異性纖維和去除微塵的效果更好。
③纖維由清棉機出棉口到清梳聯喂棉箱只經過一個風機,減少了風機葉輪對纖維的損傷。
④本機采用高速掃描彩色CCD、專業鏡頭、工業級照明系統、高速實時圖像采集DSIP處理系統、快速響應閥等。所有關鍵部件均系進口,確保能分檢棉花中的異性纖維(丙綸絲、麻絲、頭發及油花等)。
⑤本機設計結構緊湊,節省占地面積。
⑥本機設有異性纖維收集裝置,無需另外安裝異性纖維收集設備,方便用戶使用。
(2)JWF1051人型異纖微塵分離機的主要結構:本機型主要由機架、進棉管道、異纖檢測和噴出機構、皮翼打手和異性纖維收集箱、除塵網板、微塵短絨收集室、出棉風機、排塵風機、護欄等組成(圖3—91)。
①機架采用鋼板焊接結構,通過撐檔連接而成。
②進棉管道采用1400mm×80mm的
③異纖檢測部分主要由攝像機支架、照明系統和玻璃輸棉通道等組成。檢測系統采用德國進口高速掃描彩色線陣CCD(電荷耦合器件圖像傳感器),進口鏡頭,全套進口專業照明系統,技術先進,分辨率高,顏色對比度高,異纖檢測靈敏,系統穩定可靠;高速實時圖像采集處理系統采用當今國際最先進圖像處理DSP(數字信號處理器)芯片,運算速度快,實時相應好,性能可靠。攝像機通過反光鏡,透過玻璃對棉花進行掃描檢測,照明系統提供給攝像機無頻閃足夠照亮的光源。為了保證攝像機能清晰準確地拍攝到通道里的棉花,攝像機鏡頭與棉流通道要平行,反光鏡的角度要正確。執行部分采用美國進口快速響應氣閥,計算機系統確保噴閥延時和持續時間連續可調,能精確的噴出棉花中的異性纖維。當攝像機掃描到異性纖維時,由工控機控制的電磁閥在規定的時間開啟,上下閥板導通壓縮空氣進入下閥板,下閥板有112個小孔,一個電磁閥對應4個小孔,壓縮空氣從這些小空中噴出,將異性纖維噴到對面的通道進入異性纖維收集室。
④皮翼打手采用六葉翼片形式,由齒輪減速電動機帶動。通過打手緩慢的轉動,將吹下的異性纖維帶到異性纖維收集箱,儲存起來,然后定期清理。皮翼打手設計獨特,能起到很好的密封作用,保證氣壓的穩定,從而避免好纖維的下落。
⑤除塵網板采用厚度為1.5mm的Q235—A型冷軋鋼板沖制網孔而成,網孔直徑為3mm,除塵網板面積達21900cm2。
⑥微塵短絨收集室將微塵、短絨收集到里面,由排塵風機將其排到濾塵室。
⑦出棉風機選用TV425C—5.5(L)型風機,該風機與電動機直連,風機由變頻器來實現變速。在調試時,應適當調節變頻器頻率,使纖維順利吸到本機并輸出。
⑧
⑨護欄部分位于機器頂部,裝卸方便。在對機器進行調試和日常維護時,能保證工作人員的人身安全。
(3)JWF1051A型異纖微塵分離機的主要技術規格(表3—35)。
表3—35JWF1051A型異纖微塵分離機的主要技術規格
項目 |
規格 |
|||
機幅(mm) |
1600 |
|||
產量(kg/h) |
600 |
|||
排風量(m3/h) |
4000 |
|||
過濾網總面積(m2) |
2.2 |
|||
剝棉打手 |
形式 |
六葉皮翼羅拉 |
||
直徑(mm) |
350 |
|||
分辨率 |
水平方向 |
2048像素 |
||
垂直方向 |
每秒5000行 |
|||
壓縮空氣壓力(MPa) |
0.5—0.6 |
|||
檢測通道截面尺寸[長(mm)×寬(mm)] |
1400×60 |
|||
檢出尺寸(cm2) |
深色異物面積,0.5cm2,淺色異物面積,1cm2 |
|||
燈管壽命(h) |
5000 |
|||
裝機功率(kW) |
9.95 |
|||
外形尺寸[長(mm)×寬(mm)×高(mm)] |
3250×1864×3615 |
|||
全機凈 重(kg) |
約2000 |
|||
三、FA051A系列凝棉器
本系列凝棉器有FA051A(5.5)型、FA051A(7.5)型、FA051A-120(5.5)型和FA051A-120(7.5)型等四種,適用于開清棉工藝流程中,憑借風機的抽吸輸送經開松的各種等級的原棉、棉型化學纖維及其混合原料。纖維借風機的抽吸,凝聚在塵籠表面,被打手剝取落入與之配套設備的棉箱內,部分塵雜和短絨則進入塵籠內部,被送到濾塵機組。
(1)FA051A系列凝棉器的主要特點:FA051A系列凝棉器的風機位于其塵籠的側下方,采用雙進風風機從塵籠的兩端同時吸風,而纖維由塵籠的中部喂人,這樣就使塵籠表面纖維的凝聚非常均勻,提高了超短絨和微塵的去除能力,減少了纖維損傷和棉結的產生。
(2)FA051A系列凝棉器的主要結構:本機型由機架、風機、塵籠和打手等部分組成(圖3—92)。
①機架由撐檔、弧板與兩側墻板聯接而成,兩側面罩殼用于支撐風機和塵籠,通過法蘭與機架相連。
②風機由八片雙進風徑向直葉片和葉輪中間盤經鑄鋁成型,并與軸緊配形成一個整體,工作時沒有軸向推力,風機蝸殼經兩側風管與機架左右墻板相連,通過兩側罩殼實現對兩端吸風。
③塵籠由網眼板彎制而成,塵籠外圓與塵籠護板之間最小隔距4mm(進口),最大隔距12mm(出口)。塵籠兩端采用雙吸風雙密封結構,不僅提高塵籠表面纖維凝聚橫向均勻度,而且密封可靠,有效地防止纖維損傷。
④打手采用筒體和六個聚氨酯橡膠片結合而成,打手翼與塵籠表面隔距1-2mm,與打手護板隔距為1mm。
(3)FA051A系列凝棉器的主要技術規格(表3—36)。
表3-36FA051A系列凝棉器的主要技術規格
項目 |
規格 |
||||||
機型 |
FA051A (5.5) |
FA051A (7.5) |
FA051A-120 (5.5) |
FA051A-120 (7.5) |
|||
機幅(mm) |
1000 |
1200 |
|||||
最高產量(kg/h) |
800 |
1000 |
|||||
塵籠直徑(mm) |
490 |
||||||
塵籠轉速(r/min) |
113 |
||||||
打手直徑(mm) |
300 |
||||||
打手轉速(r/min) |
368 |
||||||
風機直徑(mm) |
410 |
||||||
風機轉速(r/min) |
1490、1670、1900,2130,2290,2420 |
||||||
總裝機功率(kw) |
6.25 |
8.25 |
6.25 |
8.25 |
|||
外形輪廓尺寸 [長(mm)×寬(mm)×高(mm)] |
1440×1400×1025 |
1440×1600×1025 |
|||||
全機凈重(kg) |
約600 |
約650 |
|||||
四、磁鐵裝置
1.TF27型橋式磁鐵
TF27型橋式磁鐵(圖3—93)裝有兩組永久磁鐵,磁鐵塊用稀土元素加工制作而成,磁力強,去除纖維中的鐵磁性物質效果好。TF27型橋式磁鐵可以安裝在FA006C系列往復抓棉機、FA022系列多倉混棉機的出棉口處,也可安裝在水平或豎直的輸棉管道上。
2.TF31型磁鐵裝置
TF31型磁鐵裝置
3.TF34系列磁鐵裝置
TF34系列磁鐵裝置有TF34型和TF34A型兩種。TF34型的機幅為1200mm,TF34A型的機幅為1600mm。TF34系列吸鐵裝置均設有一組永久磁鐵,磁鐵塊用稀土元素加工制作而成,磁力強,去除纖維中的鐵磁性物質效果好。TIB4系列吸鐵裝置與FA111系列、FA109系列、FA112系列、JWF1124系列輥筒清棉機及FA108E型、FA108G型等配套使用,安裝在出棉口處。
五、兩路配棉器
1.TF2202系列兩路配棉器
TF2202系列兩路配棉器有TF2202型和TF2202A型兩種,主要用于將開清部分送來的纖維按梳棉機的用棉量分成兩路供應給梳棉機的喂棉箱。TF2202型的殼體采用Q235一A型冷軋鋼板噴粉件,適用于紡棉或棉麻混紡的流程。TF2202A型的殼體采用不銹鋼件,適用于紡化學纖維的流程。
(1)TF2202系列兩路配棉器的主要特點:TF2202系列兩路配棉器設有壓力表,方便觀察和監控管道內壓力是否合適及是否穩定。壓力傳感器與清梳聯集中控制柜內的連續喂棉裝置相連接,檢測棉道內的壓力變化,并將其轉化為電壓信號傳遞給連續喂棉裝置,保證喂棉的穩定性。
(2)TF2202系列兩路配棉器的主要結構:TF2202系列兩路配棉器主要由殼體、風機、進棉口、出棉口、壓力傳感器、壓力表等組成(圖3—94)。
(3)TF2202系列兩路配棉器的主要技術規格(表3—37)
項目 |
主要技術規格 |
|
機型 |
TF2202 |
TF2202A |
適用范圍 < 棉、麻 棉、麻、化學纖維等 | ||
產量(kg/h) |
800 |
|
進棉管直徑(mm) |
300 |
|
出棉管直徑(mm) |
250 |
|
風機葉輪直徑(mm) |
290 |
|
裝機功率(kw) |
0.55 |
|
機器重量(kg) |
90 |
|
2.TF2212型兩路配棉器
TK212型兩路配棉器(圖3—95)主要用在清梳聯流程的開清部分,將輸棉管道分成兩路。該機在工作時由清梳聯集中控制柜內的PLC控制,實現自動配棉。主要技術規格見表3—38。
表3-38TF2212型兩路配棉器的主要技術規格
項目 |
主要技術規格 |
項目 |
主要技術規格 |
產量(kg/h) |
1200 |
活門控制形式 |
氣動控制 |
進棉管直徑(mm) |
300 |
機器重量(ks) |
80 |
出棉管直徑(mm) |
300 |
|
|
3.TF41型三通配棉器
TF41型三通配棉器(圖3—96)與梳棉機喂棉箱的配棉管道相連接,將配棉管道分成兩路或由兩路向梳棉機的棉箱喂棉。TF41型與TF2202型、TP42型配套使用,可實現梳棉機多路喂棉(參見圖2—15),適用于小批量多品種的紡紗或試驗流程。
六、管道用調節裝置
1.TF36系列管道風量調節除塵器TF36系列管道風量調節除塵器有TF36和TF36A兩種機型(圖3—97),安裝在清梳聯流程中開清部分機臺之間的輸棉管道上,具有平衡前后
表3-39TF36系列管道風量調節除塵器的主要技術規格
項目 |
規格 |
|
機型 |
TF36 |
TF36A |
進棉口直徑(mm) |
300 |
350 |
出棉口直徑(mm) |
300 |
|
排塵口AR(mm) |
250 |
|
排塵風量(m3/h) |
Max:1500 |
Max:2000 |
網孔直徑(mm) |
3 |
|
適紡原料 |
棉、麻 |
棉、麻、化學纖維 |
外形尺寸 [長(mm)×寬(mm)×高(mm)] |
1750×500×750 |
1600×600×750 |
TF36系列管道風量調節除塵器主要用于正壓(靜壓)區的輸棉管道中,其排塵口通過管道與濾塵機組相連接為負壓。由圖3—39可以看出,當纖維隨正壓氣流通過該機進棉口到達網眼管后,網眼管的內部為正壓而外部為負壓,使得輸送纖維的部分氣流及部分短纖維、微塵等穿過直徑φ3mm的網孔進入排塵管內,通過管道輸送最終進入濾塵機組。
2.TF38系列管道壓力調節器
TF38系列管道壓力調節器(圖3—98)安裝在連接管道上,用于調節前后機臺連接管道的
表3-40TF38系列管道壓力調節器對應的連接管道直徑
型號 |
連接管道直徑(mm) |
型號 |
連接管道直徑(mm) |
TF38一I |
300 |
TF38一Ⅷ |
440 |
TF38一Ⅱ |
250 |
TF38一Ⅸ |
500 |
TF38一Ⅲ |
350 |
TF38一X |
560 |
TF38一Ⅳ |
360 |
TF38一Ⅺ |
280 |
TF38一V |
380 |
TF38一Ⅻ |
200 |
TF38一Ⅵ |
400 |
TF38一Ⅷ |
220 |
TF38一Ⅶ |
390 |
|
|
由圖3—98可以看出,伸縮管3可以在出棉管1內滑動,且伸縮管3與接管4之間的開口大小決定了外界補風量的多少。當開口較小時補風量也較少,出棉口1處和進棉口5處的風量相差不大,這時其壓力也相差不大;當開口較大時補風量也較多,出棉口1處和進棉口5處的風量相差較大,這時其壓力也相差較大。TF38系列管道壓力調節器只能用于負壓(靜壓)區的管道上
3.TF40型氣流平衡裝置
TF40型氣流平衡裝置(圖3—99)安裝在首臺梳棉機配棉頭之前,能夠排除部分氣流,還可以去除纖維中部分短絨、微塵及細小雜質。當梳棉機的配臺數少于6臺時建議使用,特別是僅用一臺風機既要滿足清棉機的風量和風壓要求,又要滿足梳棉機配棉道的風量和風壓要求時使用。
4.TF42型搖擺閥
TF42型搖擺閥(圖3—100)用在梳棉機配棉頭的兩側,與配棉管道相連接,須成對使用。該裝置可以將管道分成兩個部分,使梳棉機的配棉方式增多,一般在多品種紡紗時使用,請參考圖2—3和圖2—15。
相關信息 







推薦企業
推薦企業
推薦企業