整經斷頭自停裝置
一般筒子架上每錠都配有斷頭自停裝置,整經斷頭自停裝置的作用是當經紗斷頭時,立即向整經機車頭控制部分發信號,由車頭控制部分立即發動停車。高速整經機對斷頭自停裝置的靈敏度提出了很高要求,要求在800~1000m/min整經速度下整經斷頭不卷入經軸,從而方便擋車工處理斷頭。因此為盡早檢測,斷頭自停裝置安放在整經筒子架的前部,斷頭自停裝置還帶有信號指示燈。當紗線發生斷頭時,自停裝置發信號關車,同時指示燈指示斷頭所處的層次位置,便于擋車工找頭。整經斷頭自停裝置的作用原理主要有電氣接觸式和電子式兩種。
(一)電氣接觸式斷頭自停裝置
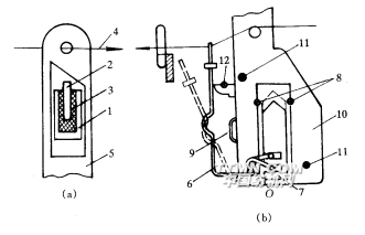
電氣接觸式自停裝置有兩種常見的形式。第一種自停裝置十分簡單,紗線斷頭后經停片因自重下落,接通導電梗1、2,使控制回路導通發動關車,如圖2-12(a)所示。這種自停裝置容易堆積纖維塵埃,引起自停動作失靈。
圖2-12電氣接觸式斷頭自停裝置
1、2-電極棒3-絕緣體4-經紗5-經停片6-自停鉤
7-銅片8-銅棒9-指示燈10-架座11-桿12-分離棒
第二種自停裝置的斷頭信號傳感元件是自停鉤6。紗線斷頭時自停鉤下落,銅片7上升,使銅棒8接通并發動關車,如圖2-12(b)所示。這種裝置帶有膠木防塵盒,有一定的防飛花塵埃作用,但結構比較復雜。
接觸式電氣自停裝置的電路導通元件接觸表面會氧化,接觸電阻增加,長期使用后自停裝置靈敏度會下降。斷頭關車失靈是這類自停裝置的常見故障。
(二)電子式斷頭自停裝置
電子式整經斷頭自停裝置又可分為光電式和電容式兩種。光電式電氣自停裝置具有較高的斷頭自停靈敏度和準確率,該裝置采用紅外線發光二極管作為發射源,接收部分采用與發光管波長接近的光敏三極管。由成對的紅外線發射器和接收器在每一層紗線下部形成一條光束通道。當紗線未斷時,經停片由紗線支承于光路
電容式整經斷頭自停裝置的感測部分為一V形槽電容器,整經機正常運行時,紗線緊貼V形槽底部運動,由于紗線運行及表面不平整的抖動,電容器產生的電信號類似“噪聲信號”,一旦發生經紗斷頭,這種“噪聲信號”消失,控制電路立即發動關車。
相關信息 







推薦企業
推薦企業
推薦企業