雙層劍桿引緯及緯紗交接形式
1.雙層劍桿引緯
雙層劍桿織造時,經紗形成上下兩層梭口,同一側的上、下兩根劍桿(多為剛性劍桿)由同一套傳劍機構來傳動,一次引入上、下兩根緯紗,如圖7—3所示。
這種引緯方式適用于加工雙層起絨織物。實踐證明,用雙層劍桿的絨織機生產長毛絨、絲絨、棉絨、地毯等絨織物,不僅勞動生產率大幅提高,而且加工的絨織物手感、外觀良好,克服了用單梭口織制的絨類織物產生的毛背疵病。
根據雙劍桿引緯時,送緯劍與接緯劍在梭口中央交接緯紗的方式不同,分為夾持式引緯和叉入鉤出式引緯兩種。
2.夾持式引緯
送緯劍和接緯劍的劍頭分別是可打開或夾持緯紗的叉形鉗口和鉤形鉗口,進劍過程中,緯紗在張力作用下滑人送緯劍的鉗口,由緯紗剪刀將鉗口與布邊之間相連的緯紗剪斷,送緯劍夾持著緯紗的紗端到達梭口中央與接緯劍相遇,緯紗自動滑人接緯劍的鉗口中,再由接緯劍夾持引出梭口。緯紗的交接過程如圖7—4所示,圖7-4(a)是交接前緯紗由送緯劍的鉗口夾持的情況,圖7—4(b)是交接中兩劍頭有一定的重疊動程,圖7—4(c)是交接后兩劍桿回退時接緯劍夾持著緯紗。
夾持式引緯是線狀引緯,每次引入單根緯紗,緯紗與劍頭之間元摩擦,可適合各種緯紗引入,因而有著廣泛的應用。
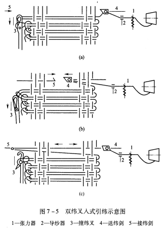
3.叉入式引緯
叉入式劍桿引緯的特點是送緯劍與接緯劍之間以紗圈形式交接緯紗,又稱圈狀引緯。叉入式引緯的劍頭結構簡單,但引緯時緯紗在送緯劍劍頭的叉口及接緯劍劍頭的鉤端高速滑過,會受到很大的磨損。另外,緯紗從儲緯器上退繞下來的速度等于劍桿速度的兩倍,附加的緯紗張力很大,不利于織機的高速運轉。
圖7—5所示是雙緯叉入式引緯的過程。送緯劍頭呈叉狀,接緯劍頭為鉤狀,緯紗以圈狀掛在送緯劍的叉口中被送人梭口;在梭口中央,緯紗圈滑入接緯劍的鉤頭中,接
相關信息 







推薦企業
推薦企業
推薦企業