劍桿引緯的方式和特點
劍桿引緯方式是利用劍狀桿在梭口中往復移動,由劍狀桿的劍頭叉入或握持緯紗,將梭口外側固定在筒子上的緯紗引入梭口。劍桿引緯原理最早在無梭織機引緯中提出,起初是單劍桿引緯,以后又發明了雙劍桿引緯,自20世紀50年代開始,各種劍桿織機相繼投入使用,目前已發展成為無梭織機中應用最廣泛的機型。
與其他引緯方式相比,劍桿引緯屬于積極引緯方式,緯紗始終處于劍頭的控制之下,因此具有引緯質量可靠、加工范圍廣、噪聲低、適合寬幅織造等特點;而且劍頭的通用性較好,可以夾持不同原料、不同粗細的緯紗,不需要更換劍頭;劍桿織機還具有輕巧的選緯功能,能方便地進行8色(最多達16色)換緯,在多色緯紗織造方面,更能顯示它的優越性。
因此,劍桿織機在品種適應能力方面明顯優于其他幾種無梭織機,隨著它性能的日趨完善,目前劍桿織機廣泛應用在裝飾織物、毛織物、棉型色織物、毛圈織物、雙層起絨織物及產業紡織品等加工領域,被認為是織制中小批量、品種翻改頻繁的花色織物所通用的、最可靠的織機。
一、劍桿引緯的方式和特點
隨著機械生產技術和加工材料的變革,產生了很多形式的劍桿弓緯機構,按照劍桿數量的配置、緯紗交接形式、劍桿的剛撓性、傳劍機構的位置等主要特征,劍桿引緯分下面幾種類型。
(一)劍桿數量的配置
按劍桿數目的不同分為單劍桿引緯、雙劍桿引緯和雙層劍桿引緯。
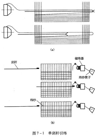
1.單劍桿引緯僅在每臺織機的一側安裝略大于布幅寬度的長劍桿及其傳劍機構,如圖7-1所示。劍桿把緯紗從梭口一側送到另一側,如圖7—1(a);或以空程伸入梭口到對側握持緯紗后,在退劍的過程中將緯紗從梭口拉出,完成引緯動作,如圖7—1(b)。
這種引緯形式,緯紗在梭口中央不經歷交接過程,劍頭結構簡單,但引緯過程中,劍桿需要伸進、退出整個梭口,引緯動程大,不利于織機速度的提高,目前僅應
2.雙劍桿引緯織機的兩側分別安裝送緯劍桿和接緯劍桿及各自的傳劍機構。引緯時,送緯劍和接緯劍從兩側向梭口中央運動,如圖7-2所示,送緯劍負責將緯紗從供緯側送到梭口的中央,然后交付給也已經運動到梭口中央的接緯劍上,兩劍桿再各自退回,由接緯劍將緯紗拉出梭口,完成一次引緯。
采用雙劍桿引緯,每個劍桿僅移動約半幅織物的寬度,引緯時間相對縮短,便于織機的高速和寬幅,且緯紗在梭口中央的交接技術已很成熟,極少失誤,因此這種引緯方式目前已在劍桿織機上廣泛采用。
相關信息 







推薦企業
推薦企業
推薦企業