賽絡菲爾紡及其紗線介紹
賽絡菲爾紡是在賽絡紡基礎上發展而來的,CSIRO是最早研究賽絡菲爾紡的機構。
賽絡菲爾紡中,一根長絲和一根短纖維粗紗分別喂入,并與前牽引羅拉握持點之間保持一固定距離(如圖2—8所示),它們組成三角區,一起加捻而形成賽絡菲爾復合紗。
如圖2—9所示。對于傳統環錠紡,由一根短纖維須條加捻成紗;對于賽絡紡,采用兩根短纖維須條加捻成紗,兩須條的質量、模量和轉動慣量均相同;但賽絡菲爾紡中,由一根短纖維須條和一根長絲加捻成紗,且須條和長絲的質量m、模量正和轉動慣量/是完全不同的。因此,對須條和長絲同時加捻是不穩定、不平衡的。就羊毛與滌綸或錦綸長絲紗的賽絡菲爾紗而言,由于后道加工中的各種摩擦作用,長絲和羊毛容易分離;進而,羊毛從紗體中分離,稱為“剝毛”(圖2—10),這必定影響織造效率和織物外觀。因此,需要對須條或長絲的張力和扭矩進行補償,以改善“剝毛”現象。
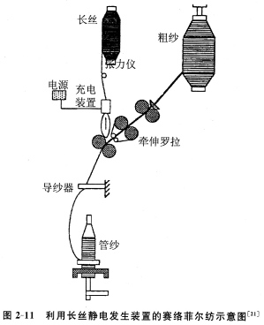
利用長絲靜電發生裝置來制備復合紗。這種方法能改善利用賽絡菲爾紡技術且由長絲和短纖維制成的復合紗的耐磨性,如圖2—11所示。基于雙電極系統原理,長絲充電裝置由一對中空圓電級組成,即頂部電極和底部電極(黃銅制)。連續長絲首先與頂部電極接觸而充電。由于它們帶有同性電荷,因而組成紗線的單絲相互排斥。同時,由于位于電極之間的電場作用,帶電長絲和底部電極之間相互吸引,增強了長絲向外拉開而成為氣泡狀的趨勢。
滌綸長絲紗經抗靜電助劑處理后,可減少紗的阻力。實驗結果表明:
(1)長絲的擴散寬度隨著羅拉速度的增加而減少;
(2)加入0.33%的抗靜電劑,長絲擴散效應最大;
(3)長絲的擴散寬度隨著電極間應用電壓的電勢差異增加而增加;
(4)分離的長絲與短纖維混合,
王等[22]提供了用于補償纖維須條和長絲之間力學性能差異的裝置,它能明顯改善須條和長絲的捻度均勻性,從而增加紗線耐磨性,減少毛羽。
余[23]研究并測試了不同長絲預加張力下賽絡菲爾精梳毛紗的毛羽和耐磨性,紗線線密度22.7tex,設計捻度1004捻/m。圖2—12表示長絲預加張力為4.9~29.4cN時對賽絡菲爾復合紗毛羽的影響,預加張力為9.8~14.7cN時,毛羽最少。表2—4表示長絲預加張力為4.9~29.4cN時對賽絡菲爾復合紗耐磨性的影響,長絲預加張力為9.8—14.7cN時,賽絡菲爾復合紗的耐磨性最佳。
因此,長絲預加張力對復合紗的結構和性能有很大影響,尤其對毛羽和耐磨性能。余通過理論分析得到了長絲的最佳預加張力,它與線密度、短纖維須條和長絲的模量、紡紗張力、捻度及捻度傳遞有關。
余[23]還研究了賽絡菲爾紡紗過程中的張力和力矩補償機構。圖2—13表示加裝補償機構對賽絡菲爾復合紗毛羽的影響。當預加張力為14.7cN時,應用補償機構,賽絡菲爾復合紗的毛羽明顯減少。
賽絡菲爾復合紗的橫截面呈圓形,與環錠紡單紗結構相似,沿軸向則與雙股紗的螺旋線結構相似,如圖2—14所示。復合紗的拉伸性能主要決定于長絲的拉伸性能,成紗強度和條干均優于環錠紡單紗。
長絲紗的結構與性能和短纖維紗不同。因此,復合紗與傳統雙股紗之間也有差異,尤其是紗線的扭轉性能和扭矩松弛行為。復合紗通常具有較高的殘余扭矩,因此,絡筒和織造過程中易產生“小辮子紗”,這也會使織物產生歪斜的不良外觀。
吳等[24-25]在室溫和熱定形溫度下,研究了由滌綸長絲和毛/滌短纖制成的賽絡菲爾復合紗、合捻復合紗以及雙股短纖紗的扭轉性能和扭矩松弛行為,分析比較了復合紗和
室溫下長時間置放后,雙股紗的殘余扭矩較低,而賽絡菲爾復合紗和合捻復合紗具有較高的殘余扭矩。因此,對于復合紗,應采用扭矩松弛加工。隨著溫度上升,紗線的扭矩松弛速度增加,該速度主要依賴溫度,但它與紗線結構并不密切相關。
陳[26]等研究測試了賽絡菲爾復合紗的拉伸性能。表2—5列出了三種滌綸長絲和羊毛復合比例各不相同的賽絡菲爾復合紗及其拉伸性能。圖2—16所示為三種賽絡菲爾紗的拉伸曲線。圖2—17和2—18則描述了紗線強度、斷裂伸長率與復合比例之間的關系。滌綸長絲和羊毛的復合比例對賽絡菲爾復合紗的拉伸曲線、強度和斷裂伸長率都有影響,隨著滌綸長絲比例增加,紗線強度增加。
研究了擴散寬度對復合紗結構與性能的影響,以及油劑對復合紗擴散寬度的影響,試驗結果如下:
(1)隨著復絲擴散寬度的增加,復合紗質量有所改善;
(2)油劑對滌綸復絲擴散寬度的影響很關鍵;
(3)適用于復絲擴散的特殊油劑由潤滑劑、抗靜電劑和乳化劑組成;
(4)擴散寬度隨車間絕對濕度的增加而增加。
由于復合紗結構中的復絲,由于其應力和應變不容易在加捻過程中松弛,密度較高,摩擦力和粘合力也相應較高。因此,紗線直徑隨著紗線捻度的增加而減少,捻度從474捻/m增加到949捻/m,紗線直徑約減少一半,捻度對復合紗結構的影響比傳統環錠紗更重要。紡制19.7tex滌/棉賽絡菲爾復合紗,選用650捻/m左右的捻度,紗線強度高、伸長穩定。捻度對成紗條干或紗疵的影響不明顯,3mm以上的毛羽隨捻度的增加會有略微減少。捻度增加時,紗線耐磨性首先呈增加趨勢;當捻度大于800捻/m以后,耐磨性略微減少。捻度為
相關信息 







推薦企業
推薦企業
推薦企業