條機的機構及其作用
1.喂入機構
條子進入牽伸機構前的導條機件統稱為喂入機構。以FA302型并條機為例,FA302型并條機采用高架式順向喂入導條機構,由導條羅拉、分條叉、集束板和斷條自停裝置等組成。除高架式喂入機構外,還有平臺式喂入機構。
2.牽伸機構
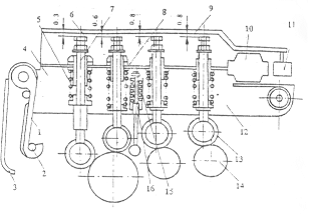
并條機的牽伸一般由羅拉牽伸裝置來完成,FA302型并條機采用導向輥壓力棒三上三下牽伸機構,如圖5-2所示,由羅拉、膠輥,壓力棒、加壓裝置和清潔裝置等組成。
圖5-2導向輥壓力牽伸裝置
1-前羅拉2-導向輥3-前膠輥4-壓力棒
羅拉是牽伸機構的重要部件,又稱下羅拉,表面通常成螺旋形溝槽,螺旋角為5°。膠輥又稱上羅拉。膠輥和羅拉組成牽伸握持鉗口,靠羅拉摩擦傳動。FA302型并條機的膠輥有導向輥和前、中、后膠輥共4根,其中導向輥和前膠輥同時受前羅拉摩擦運動。
壓力棒是一根不回轉的扇形金屬棒,裝在主牽伸區內,它的弧形邊緣和須條接觸,迫使須條受壓形成曲線通道,起到附加摩擦力界的作用。壓力棒的前后位置和高低位置,可根據纖維長度和工藝要求進行調節。其插口座和中羅拉座連在一起。當纖維長度在40㎜以下時,壓力棒放在后插口,同時取下前插口;當纖維長度在40㎜以上時,壓力棒放在前插口,如圖5-3(甲)所示。壓力棒的高低位置靠更換調節環直徑來調節,調節環的直徑越大,壓力
圖5-3壓力棒前后插口和調節環
1-前插口2-后插口3-中羅拉座4-調節環5-壓力棒
棒的位置越高,須條的受壓減弱,反之則增加對須條的壓力,如圖(乙)所示。另外,有些并條機上還使用間歇回轉上壓式圓形壓力棒以及固定下托式弧形或扇形壓力棒等多種形式,在工藝上各具有自己的特點。
加壓裝置在FA302型并條機上采用的是搖架彈簧加壓裝置,由搖架、加壓彈簧等元件組成,如圖5-4所示。加壓時,將搖架向下壓,使加壓鉤鉤住短軸
圖5-4搖架彈簧加壓裝置
1-加壓鉤2-加壓鉤短軸3-加壓手柄4-搖架體5-加壓彈簧
6-自停螺釘7-加壓芯軸8-蝶形簧9-自停臂10-磁鐵11-微動開關
12-搖架支座13-后膠輥14-后羅拉15-壓力棒加壓彈簧16-壓力棒加壓芯軸
簧則通過加壓芯軸施壓于膠棍和壓力棒上。卸壓時,扳起手柄,使加壓鉤脫離加壓鉤短軸,在蝶形的平衡力作用下,整個搖架自動向上抬起,停留在操作的位置。
3.成形機構
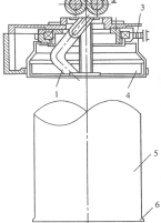
成形機構是將集束器吐出的束狀須條進一步凝集成條,并有次序的盤入棉條筒中,便于下一工序繼續加工。成形機構包括集束器、喇叭頭、緊壓羅拉、圈條裝置、棉條筒以及條筒底盤等機件。
(1)圈條裝置
圈條裝置主要由圈條盤4、底盤6、斜管1和齒形帶3等部件組成。如圖5-5示,棉條從緊壓羅拉2輸出后,通過回轉較快的圈條盤4的引導進入棉條筒5,由于圈條底盤的緩慢回轉,使棉條有規律地盤入棉條筒內。并條機的成形與梳棉機的成形相同,按圈條直徑相對于條筒直徑的不同分為大圈條、小圈條兩種形式,兩種形式各有其特點。由于并條機輸出速度高,圈條速度也高,紡化纖時,因靜電現象顯著,易堵塞斜管而引起斷頭。因此,根據棉條的運動軌跡為近似螺旋線的空間曲線,將斜管制成圓柱螺旋型曲線或空間曲線型斜管。
圖5-5圈條盤及圈條成形
有的高速并條機圈條盤采用曲線斜管,成形良好。圈條盤采用懸掛式結構,使用超輕型滾動軸承和國際標準同步齒形帶,下圈條傳動通過兩組三角帶輪傳到地軸。
4.輔助機構
(1)清潔裝置
清潔裝置的作用是在運轉過程中清除牽伸部分的塵屑、飛花,使牽伸正常進行。清潔裝置一般有兩種形式:摩擦式集體吸風自動清潔系統和回轉絨布套和真空吸風清潔系統。
(2)自停裝置
并條機均有電氣式或機電式自停裝置。在機后條筒中棉條用完或發生斷頭時,當發
(3)有的并條機還附有滿筒定長裝置和自動換筒裝置,由單獨的電動機傳動。
(4)圈條器增容裝置
國外廣泛采用了有增容裝置的圈條器,使條筒單位體積的條子容量得以增加,條子密度的均勻度得到改善。
相關信息 







推薦企業
推薦企業
推薦企業