技術為王的時代,快一步就是勝利
1
2017立達紡機技術交流會成功召開,新一代自動抓棉機、智能化紡紗設備狂吸睛:

1978年,立達革命性創新了自動抓棉技術理念,開創了自動抓棉機UNIfloc A1開始的新清花工藝流程。多年來立達持續開發出多代滿足市場需求的自動抓棉機。2017年4月,立達新一代自動抓棉機UNIfloc A12正式投放市場,最高實際產量超過2 000kg/h為自動抓棉機設定了新的行業標準。與會者紛紛表示昌吉溢達的高度自動化,智能化程度令人印象深刻,可謂智能化紡織工廠新標桿。
2
卓郎紡機纖維梳理技術展會受矚目,市場歡迎度空前:

卓郎(常州)紡織機械有限公司在2016年ITMA亞洲紡機展上展出了適應于處理高含雜及機采棉原料的JSC328新型節能梳棉機及清花系統。JSC328梳棉機產量可達180公斤/小時,更有效去除高含雜原料中的細小雜質,提高生條質量。在去除雜質率提高10%的同時,能耗可降低10%。
3
五洋紡機“經編智能生產線管理系統”上央視,智能車間引起行業熱議:

五洋紡機自主研發了“經編智能生產線管理系統”,并通過鑒定,達國內領先水平。“經編智能生產線管理系統”通過對生產線組成裝備的每個運作環節進行全程的數據采集、傳輸和控制,實現生產過程的全面信息化管理。目前這套系統已經廣泛運用到五洋紡機幾十家客戶,為整個經編行業邁向智能化,信息化做出了貢獻。
在如今技術創新為王的互聯網時代,技術革新能夠為企業和產品打開巨大的經濟鏈,這項定律也在紡機市場表現的尤其明顯。

2017年,隨著市場的深度調整,淘汰落后促進高端化進程已成為常態,環保節能高效短流程數字化監控與智能化作為印染機械的發展方向,引領著印染機械企業開拓更廣闊的市場。由于拉幅定型機的適用面廣,應用于定型機在線監測遠程監控余熱回收自動濾網清潔等技術是今后定型機生產的發展方向,更加適應市場及環保的需求。

目前,印染企業加工1噸針織布約需煤1.5噸,其中定形機約占了40%。以擁有10臺定形機的中等規模印染企業為例,僅定形工段的年耗電量就達800萬度,而歐洲發達國家同等規模企業,由于采用先進的定形設備及控制技術,其定形工段年耗電量僅為我國的62%左右,能耗差異巨大。
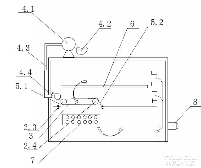
日前,國家專利局公告了一種拉幅定型機/烘干機用的自動濾網清潔裝置-回轉式濾網裝置,它包括烘箱組,驅動裝置,濾網及回轉裝置,吸塵裝置。濾網及回轉裝置置于每一個熱交換器的上方,驅動裝置提供動力。烘箱體內有熱交換器,通過循環熱風將布料烘干/定型。為防止毛絨等雜物聚集在熱交換器上引起著火或者堵塞熱交換器表面致使熱交換效果不佳,本發明在熱交換器上方設置了濾網回轉裝置及防塵罩裝置,通過吸塵裝置定期自動將毛絨等雜物吸出烘箱體外,達到自動清潔節能環保安全防火的目的。同時減輕了勞動者的勞動強度,生產產品質量更加穩定,結構簡單更易維護。
熱風拉幅定型機/烘干機存在以下二個行業痛點:
一是機器經常發生著火現象,主要是烘箱內高達二百多度的高溫引發堆集的毛絨或者油污著火;
二是聚集的毛絨雜物堵塞了除塵過濾網大大降低了熱能轉換效果。
發明專利回轉式濾網裝置很好地解決了上述痛點,網帶及防塵罩防止毛絨跌落到熱交換器上引起火星;通過濾網裝置將毛絨雜物定期吸出烘箱體外,防止聚集成堆/成層的毛絨漫燃著火(即使少數幾根毛絨冒了火星也不至于能著火漫燃),解除了機器在熱交換器附近著火的安全隱患。同時暢通的熱風循環通道使熱交換效果大大提高,達到節能減排的效果。
更為重要的是,傳統的手動抽拉平網裝置因不能及時清理毛絨網,致使過濾網的過風量處于極不穩定的狀態,烘箱內的風壓也是忽高忽低極不穩定,導致相同工藝條件下產品的品質一致性也不穩定,影響布料的品質不穩定。而回轉式濾網裝置技術能及時清理掉毛絨網層,不會產生堵塞過濾網眼的情況,因而過濾網的過風量是穩定的,產品品質也是穩定的。
目前,浙江遠信集團已經生產出了另一種自動濾網裝置的定型機,很好地解決了毛絨自動清理難題。來自《環球紡機》的報道,遠信定型機“植入一項新技術,就加價30萬,把一臺定型機賣出寶馬范兒,今年以來,浙江遠信機械有限公司訂單多到不敢接。”,“獨家技術創新帶火了銷售。”,同時新機器“節能20%以上,效率提高15%以上”。足見自動濾網清潔技術的功用很大。可以預見,在不遠的將來,自動濾網清潔技術必將成為拉幅定型機/烘干機的標準配置,就象智能手機的標準配置普遍采用指紋識別/人臉識別一樣。我們希望,回轉式濾網裝置這項新技術能盡快應用于定型機/烘干機,并得到大力推廣。也許在2017年11月的上海紡機展上,我們就能領略到它的風采。

編者按
2017的紡機市場有喜有悲,環保風暴下部分中小企業因為缺乏技術支持,只能面臨被時代淘汰的結局。扼腕的同時我們應該意識到在這個互聯網高速時代,技術創新、專利產品不僅能夠為企業節約耗能及資金,還是企業在業內立足的根本。隨著一帶一路的深入,越來越多的企業選擇海外戰略,然而對缺乏技術專利的企業來說,保證機器在海外的銷路僅靠低價是遠遠不夠的。甚至可以說沒有技術的支持,企業將寸步難行。家中有糧,心中不慌,我們有理由相信,這項專利技術在不久的將來會被廣泛應用于工業4.0的發展和紡機智能化應用,為紡機甚至整個紡織產業鏈帶來更多驚喜和機遇。
附發明專利信息:
專利名稱:回轉式濾網裝置
專利類型:實用新型專利
申請(專利)號:ZL201621174793.x
申請(專利權)人:唐祎
申請日期:2016年10月27日
公開(公告)日:2017年5月10日
法律狀態:公開,實質審查的生效
附圖及說明:

4.1-吸塵機,4.2-收集袋,4.3-吸管,4.4-帶吸塵口的吸管,5.1,5.2-防塵罩,2.4-主動滾筒,2.3-從動滾筒,3-過濾網帶,7-熱交換器,6-布料,8-循環風鼓風機。
推薦企業面向顧客,持續改進,實施品牌戰略,必須是
經編未來 無限可能
云展云舒,龍行天下 并人間品質,梳天下纖維
印染機械 首選黃石經緯 印花機 絲光機 蒸化機
推薦企業
推薦企業